Корпорация добра не желает отказываться от концепции носимой на голове электроники. Ранее ее портфель патентов пополнился документами, охватывающими контактные линзы, которые способны собирать данные о здоровье пользователя, и очки дополненной реальности Glass. Теперь настал черед умной кепки.
Как сообщает Mashable, текст из свежего патента компании Google касается кепки с камерой, которая может использоваться для интерактивного общения с участием удаленных пользователей. Девайс также позволит владельцам снимать фотографии и видео для последующей загрузки контента в социальные сети с помощью мобильного приложения. Кроме того, с его помощью также можно будет заниматься стримингом видео.

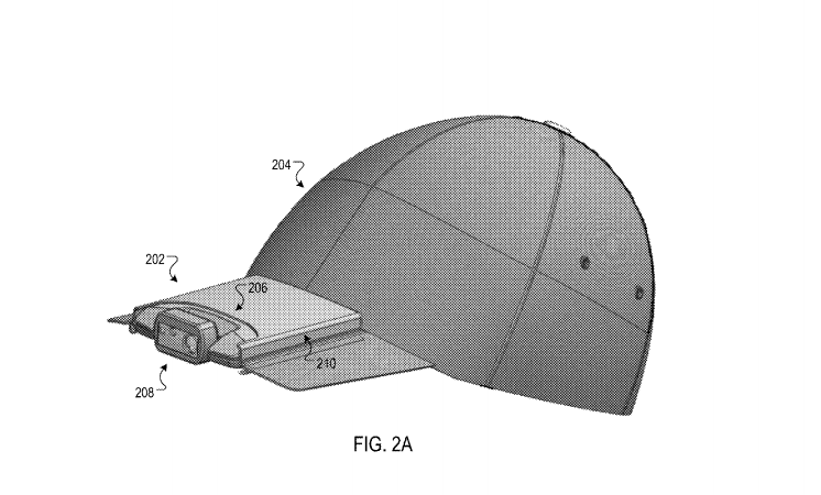
В тексте патента содержится описание встроенного динамика, который может "генерировать звуковые волны через кепку посредством костной проводимости в черепе". Кроме того, конструкция девайса предусматривает микрофон, необходимый для записи аудио-контента.
Инженеры Google также предлагают использовать продвинутый головной убор для решения других задач помимо обмена фотографиями и видео с друзьями и семьей. Патент описывает, как девайс может использоваться в ходе "сеанса интерактивной помощи" для решения технических проблем клиентов специалистами техподдержки той или иной компании. Кепка также может пригодиться в чрезвычайных ситуациях, передавая изображения и GPS-информацию с места происшествия.
Судя по изображению умной кепки из патента, не похоже, что она будет очень уж стильной. Это может быть проблемой для Google, так как неудачный дизайн стал одной из главных причин коммерческого провала очков дополненной реальности Google Glass.